當前位置:首頁--排污泵系列產品--JYWQ型潛水自動攪勻排污泵
|
 |
| 一、JYWQ型潛水自動攪勻排污泵產品簡介: |
JPWQ系列自動攪勻潛水排污泵是在WQ型號潛水排污泵的基礎上采用自動攪拌裝置,該裝置隨電機軸旋轉,產生極強的攪拌力,將污水池內的沉積物攪拌成懸浮物,吸入泵內排出,提高了泵的防堵、排污能力,一次性完成了排水、清污、除淤,節約了運行成本,是具有明顯的先進性和實用性的環保產品。該產品成功適用于于化工、石油、制藥、采礦、造紙、電廠及城市污水處理、市政工程、公共設施排污等輸送帶顆粒、沉淀物的污水污物,并獲得了用戶的一直好評!注:JYWQ為普通型自動攪勻潛水排污泵;JPWQ型不銹鋼自動攪勻排污泵為帶不銹鋼外套內循環冷卻系統自動攪勻潛水排污泵。 |
二、JYWQ型潛水自動攪勻排污泵型號意義: |
 |
| 三、JYWQ型潛水自動攪勻排污泵特點: |
1.當自動攪勻排污泵運轉時,自動攪拌池底沉積物,徹底防止污物淤積,無須人工清理;
2.獨特的葉輪設計,具有將纖維物、雜物切碎和撕裂的功能;
3.采用外循環冷卻系統,使排污泵低水位運轉,減少電機起動頻率,延長電機壽命;
4.國家標準圖集推薦產品;
四、JYWQ型潛水自動攪勻排污泵使用條件:
1、介質溫度不超過60℃,介質重度為1~1.3kg/dm3,PH值在4~10范圍內。
2、1Cr18Ni9ti不銹鋼材質可適用各種腐蝕性介質。
注:用戶如有特殊的介質、溫度等要求,請要訂貨時注明輸送介質詳細情況,以便本公司提供更為可靠之產品。
五、JYWQ型潛水自動攪勻排污泵用途:
1.工廠、商業嚴重污染廢水的排放。
2.城市污水處理廠、醫院、賓館的排水系統。
3.住宅區的污水排水站。
4.人防系統排水站、自來水廠的給水裝置。
5.市政工程、建筑工地。
6.勘探、礦山、發電廠配套附機。
7.農村沼氣池、農田灌溉、河塘清淤。 |
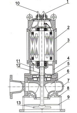
六、JYWQ型潛水自動攪勻排污泵結構介紹及結構圖: |
1、采用獨特的雙流道無堵塞葉輪結構,提高污水污物的過流能力和排污能力。
2、自動攪拌裝置,產生極強的攪拌力,將池內的沉淀物攪拌成懸浮物后吸入葉輪排出,達到清淤的作用。
3、隔板將底座一分為二,攪拌與進水互不影響。
4、機械密封為雙端面機械密封,長期處于油室中,保證水泵安全可靠地運行。
5、副葉輪結構的流體動力密封,既有輔助密封作用,從而保護機械密封,又平衡軸向力,延長軸承的使用壽命。
6、泵連線腔內沒有漏水檢測探頭,出現漏水時,探頭發出信號,控制系統對泵實施保護,本公司可配全自動安全保護控制柜。
7、電機定子采用B級和F級絕緣,內設熱保護器,當電機過載發熱,保護器及時作出動作,對泵和電機實施絕對的保護。
8、油室內裝有油水探頭,當機械密封損壞后,水進入油室,探頭發出信號由控制系統對水泵實施保護。
9、JPWQ自動攪勻潛水排污泵帶內循環冷卻系統,能保證水泵在水池最低水位正常工作。 |
 |
1、主電纜2、機殼3、內循環套4、油箱5、副葉輪6、葉輪7、泵體8、底座9、隔板10、控制電纜
11、油水控頭12、機械密封13、攪拌件
|
七、JYWQ型潛水自動攪勻排污泵性能參數表: |
|
型號 |
排出
口徑
(mm) |
額定
流量
(m3/h) |
額定
揚程
(mm) |
攪拌
直徑
(mm) |
轉速
(r/min) |
效率
(%) |
自動
耦合器 |
1 |
JYWQ50-12-15-1200-1.5 |
50 |
12 |
15 |
1200 |
2900 |
48 |
CAK-50 |
2 |
JYWQ50-20-7-1200-1.1 |
50 |
20 |
7 |
1200 |
2900 |
62 |
CAK-50 |
3 |
JYWQ50-10-10-1200-1.1 |
50 |
10 |
10 |
1200 |
2900 |
56 |
CAK-50 |
4 |
JYWQ50-15-15-1200-2.2 |
50 |
15 |
15 |
1200 |
2900 |
51 |
CAK-50 |
5 |
JYWQ50-25-10-1200-2.2 |
50 |
25 |
10 |
1200 |
2900 |
65 |
CAK-50 |
6 |
JYWQ50-15-20-1200-2.2 |
50 |
15 |
20 |
1200 |
2900 |
56 |
CAK-50 |
7 |
JYWQ50-20-15-1200-2.2 |
50 |
20 |
15 |
1200 |
2900 |
56 |
CAK-50 |
8 |
JYWQ50-42-9-1200-3 |
50 |
42 |
9 |
1200 |
2900 |
56 |
CAK-50 |
9 |
JYWQ50-17-25-1200-3 |
50 |
17 |
25 |
1200 |
2900 |
56 |
CAK-50 |
10 |
JYWQ50-25-22-1200-4 |
50 |
25 |
22 |
1200 |
2900 |
62 |
CAK-50 |
11 |
JYWQ50-40-15-1400-4 |
50 |
40 |
15 |
1400 |
2900 |
70 |
CAK-50 |
12 |
JYWQ50-25-32-1600-5.5 |
50 |
25 |
32 |
1600 |
2900 |
52 |
CAK-50 |
13 |
JYWQ50-40-30-1600-7.5 |
50 |
40 |
30 |
1600 |
2900 |
68 |
CAK-50 |
14 |
JYWQ65-25-15-1400-3 |
65 |
25 |
150 |
1400 |
2900 |
65 |
CAK-65 |
15 |
JYWQ65-37-13-1400-3 |
65 |
37 |
13 |
1400 |
2900 |
62 |
CAK-65 |
16 |
JYWQ65-25-28-1400-4 |
65 |
25 |
28 |
1400 |
2900 |
60 |
CAK-65 |
17 |
JYWQ80-40-7-1600-2.2 |
80 |
40 |
7 |
1600 |
2900 |
54 |
CAK-80 |
18 |
JYWQ80-29-8-1600-2.2 |
80 |
29 |
8 |
1600 |
2900 |
54 |
CAK-80 |
19 |
JYWQ80-43-13-1600-4 |
80 |
43 |
13 |
1600 |
2900 |
63 |
CAK-80 |
20 |
JYWQ80-50-10-1600-3 |
80 |
50 |
10 |
1600 |
1450 |
76 |
CAK-80 |
21 |
JYWQ80-40-15-1600-4 |
80 |
40 |
15 |
1600 |
2900 |
70 |
CAK-80 |
22 |
JYWQ80-60-13-1600-4 |
80 |
60 |
13 |
1600 |
2900 |
70 |
CAK-80 |
23 |
JYWQ80-35-25-1600-5.5 |
80 |
35 |
25 |
1600 |
2900 |
64 |
CAK-80 |
24 |
JYWQ80-50-25-1600-7.5 |
80 |
50 |
25 |
1600 |
2900 |
70 |
CAK-80 |
25 |
JYWQ80-50-30-1600-7.5 |
80 |
50 |
30 |
1600 |
2900 |
70 |
CAK-80 |
26 |
JYWQ100-80-9-2000-4 |
100 |
80 |
9 |
2000 |
1450 |
62 |
CAK-100 |
27 |
JYWQ100-110-10-2000-5.5 |
100 |
110 |
10 |
2000 |
1450 |
71 |
CAK-100 |
28 |
JYWQ100-70-15-2000-5.5 |
100 |
70 |
15 |
2000 |
1450 |
71 |
CAK-100 |
29 |
JYWQ100-100-15-2000-7.5 |
100 |
100 |
15 |
2000 |
1450 |
73 |
CAK-100 |
30 |
JYWQ100-80-20-2000-7.5 |
100 |
70 |
20 |
2000 |
2900 |
71 |
CAK-100 |
31 |
JYWQ100-50-35-2000-11 |
100 |
100 |
35 |
2000 |
2900 |
68 |
CAK-100 |
32 |
JYWQ100-70-22-2000-7.5 |
100 |
80 |
22 |
2000 |
2900 |
70 |
CAK-100 |
33 |
JYWQ100-100-22-2000-15 |
100 |
150 |
22 |
2000 |
1450 |
61 |
CAK-100 |
34 |
JYWQ100-80-30-2000-15 |
100 |
210 |
30 |
2000 |
1450 |
67 |
CAK-100 |
35 |
JYWQ150-150-10-2000-7.5 |
150 |
250 |
10 |
2000 |
1450 |
75 |
CAK-150 |
36 |
JYWQ150-210-7-2500-7.5 |
150 |
150 |
7 |
2500 |
1450 |
78 |
CAK-150 |
37 |
JYWQ150-250-6-2500-7.5 |
150 |
200 |
6 |
2500 |
1450 |
79 |
CAK-150 |
38 |
JYWQ150-150-15-2500-11 |
150 |
65 |
15 |
2500 |
1450 |
79 |
CAK-150 |
39 |
JYWQ150-200-10-2500-15 |
150 |
180 |
10 |
2500 |
1450 |
73 |
CAK-150 |
40 |
JYWQ150-65-40-3200-18.5 |
150 |
150 |
40 |
3200 |
1450 |
58 |
CAK-150 |
41 |
JYWQ150-180-22-2600-18.5 |
150 |
110 |
22 |
2600 |
1450 |
75 |
CAK-150 |
42 |
JYWQ150-150-26-2600-18.5 |
150 |
300 |
26 |
2600 |
1450 |
72 |
CAK-150 |
43 |
JYWQ150-110-30-2600-18.5 |
150 |
130 |
30 |
2600 |
1450 |
72 |
CAK-150 |
44 |
JYWQ150-300-15-2600-22 |
150 |
100 |
15 |
2600 |
1450 |
76 |
CAK-150 |
45 |
JYWQ150-130-30-2600-22 |
150 |
300 |
30 |
2600 |
1450 |
70 |
CAK-150 |
46 |
JYWQ150-100-40-3000-30 |
150 |
250 |
40 |
3000 |
1450 |
64 |
CAK-150 |
47 |
JYWQ200-300-7-3000-11 |
200 |
300 |
7 |
3000 |
1450 |
75 |
CAK-200 |
48 |
JYWQ200-250-11-3000-15 |
200 |
250 |
11 |
3000 |
1450 |
72 |
CAK-200 |
49 |
JYWQ200-300-10-3000-15 |
200 |
300 |
10 |
3000 |
1450 |
75 |
CAK-200 |
50 |
JYWQ200-250-15-3000-18.5 |
200 |
250 |
15 |
3000 |
1450 |
72 |
CAK-200 |
51 |
JYWQ200-400-10-3000-22 |
200 |
400 |
10 |
3000 |
1450 |
75 |
CAK-200 |
52 |
JYWQ200-200-20-3000-22 |
200 |
200 |
20 |
3000 |
1450 |
73 |
CAK-200 |
53 |
JYWQ200-250-22-3000-30 |
200 |
250 |
22 |
3000 |
1450 |
73 |
CAK-200 |
54 |
JYWQ250-600-7-3000-22 |
250 |
600 |
7 |
3000 |
1450 |
78 |
CAK-250 |
55 |
JYWQ250-600-9-3000-30 |
250 |
600 |
9 |
3000 |
1450 |
78 |
CAK-250 |
|
八、JYWQ型潛水自動攪勻排污泵性能曲線圖: |
 |
| 九、JYWQ型潛水自動攪勻排污泵安裝尺寸圖及安裝尺寸: |
 |
序號 |
型號 |
A |
B |
C |
D1 |
D |
H |
1 |
50-12-15-1200-1.5 |
135 |
400 |
245 |
225 |
255 |
670 |
2 |
50-20-7-1200-1.1 |
132 |
343 |
225 |
150 |
180 |
610 |
3 |
50-10-10-1200-1.1 |
132 |
343 |
225 |
150 |
180 |
610 |
4 |
50-15-15-1200-2.2 |
135 |
400 |
245 |
225 |
255 |
670 |
5 |
50-25-10-1200-2.2 |
135 |
400 |
245 |
225 |
255 |
670 |
6 |
50-15-20-1200-2.2 |
135 |
400 |
245 |
225 |
255 |
670 |
7 |
50-20-15-1200-2.2 |
135 |
400 |
245 |
225 |
255 |
670 |
8 |
50-42-9-1200-3 |
143 |
420 |
265 |
225 |
255 |
750 |
9 |
50-17-25-1200-3 |
130 |
433 |
265 |
240 |
285 |
750 |
10 |
50-25-22-1200-4 |
135 |
400 |
245 |
225 |
255 |
735 |
11 |
50-40-15-1400-4 |
143 |
420 |
265 |
225 |
255 |
750 |
12 |
50-25-32-1600-5.5 |
180 |
480 |
295 |
270 |
320 |
820 |
13 |
50-40-30-1600-7.5 |
180 |
480 |
295 |
270 |
320 |
820 |
14 |
65-25-15-1400-3 |
143 |
435 |
270 |
225 |
255 |
750 |
15 |
65-37-13-1400-3 |
143 |
435 |
270 |
225 |
255 |
750 |
16 |
65-25-28-1400-4 |
180 |
515 |
317 |
270 |
320 |
800 |
17 |
80-40-7-1600-2.2 |
143 |
465 |
295 |
225 |
255 |
685 |
18 |
80-29-8-1600-2.2 |
143 |
465 |
295 |
225 |
255 |
685 |
19 |
80-43-13-1600-4 |
143 |
465 |
295 |
225 |
255 |
750 |
20 |
80-50-10-1600-3 |
180 |
570 |
325 |
280 |
320 |
790 |
21 |
80-40-15-1600-4 |
143 |
465 |
295 |
225 |
255 |
750 |
22 |
80-60-13-1600-4 |
143 |
465 |
295 |
225 |
255 |
750 |
23 |
80-35-25-1600-5.5 |
180 |
550 |
305 |
270 |
320 |
820 |
24 |
80-50-25-1600-7.5 |
180 |
550 |
305 |
270 |
320 |
820 |
25 |
80-50-30-1600-7.5 |
180 |
550 |
305 |
270 |
320 |
820 |
26 |
100-80-9-2000-4 |
180 |
600 |
386 |
280 |
320 |
790 |
27 |
100-110-10-2000-5.5 |
200 |
700 |
440 |
370 |
410 |
900 |
28 |
100-70-15-2000-5.5 |
200 |
690 |
430 |
370 |
410 |
900 |
29 |
100-100-15-2000-7.5 |
200 |
700 |
440 |
370 |
410 |
900 |
30 |
100-80-20-2000-7.5 |
180 |
585 |
370 |
270 |
320 |
900 |
31 |
100-50-35-2000-11 |
180 |
585 |
370 |
270 |
320 |
940 |
32 |
100-70-22-2000-7.5 |
180 |
585 |
370 |
270 |
320 |
900 |
33 |
100-100-22-2000-15 |
230 |
815 |
515 |
455 |
495 |
970 |
34 |
100-80-30-2000-15 |
230 |
815 |
515 |
455 |
495 |
970 |
35 |
150-150-10-2000-7.5 |
213 |
775 |
495 |
360 |
405 |
920 |
36 |
150-210-7-2500-7.5 |
242 |
830 |
540 |
365 |
410 |
950 |
37 |
150-250-6-2500-7.5 |
242 |
830 |
540 |
365 |
410 |
950 |
38 |
150-150-15-2500-11 |
220 |
770 |
495 |
345 |
395 |
990 |
|
|
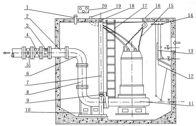
| 十、JYWQ型潛水自動攪勻排污泵安裝示意圖: |
 |
1.通風節 2.預埋管 3.膨脹節 4.逆止閥 5.閘閥 6.彎管 7.導軌 8.出水管 9.支架 10.耦合底座 11.自動攪勻排污泵
12.浮球開關(水位開關)13.隔板 14.浮球固定架 15.小鏈 16.掛鉤 17.人梯 18.支撐架 19.電纜出線管 20.電機保護器 |
JYWQ型潛水自動攪勻排污泵帶自動耦合裝置安裝圖: |
 |
 |
| 注:JYWQ、JPWQ系列自動攪勻潛水排污泵選型時,請注明泵的型號,安裝方式,池深,泵控制保護方式,以便提供可靠的系統 |
|
十一、JYWQ型潛水自動攪勻排污泵使用注意事項: |
(1)運轉前應用兆歐表檢查電機定子繞組對地的絕緣電阻,最低不得少于50兆歐。
(2)檢查電纜有無破損、折斷等現象。如有損傷須及時更換,以免漏電;電纜截面應與電流相匹配。
(3)電壓超過額定電壓的±10%時,不得啟動電泵。
(4)以保證使用安全,必須將四芯電纜中的接地線可靠接地,以防發生觸電事故。
(5)電泵潛入水中時,應垂直起吊,不允許橫放著地,更不能陷入污泥中。停止使用時應將電泵吊起清洗干凈, 置于干燥處,并注意防凍。
(6)禁止將電纜作為安裝起吊繩使用。
(7)檢查轉子運轉方向,從上向下看應為順時針方向旋轉。
(8)室外的開關或接線端應有防雨、防潮措施,濕手或赤足時禁止觸及開關,防止觸電。
(9)移動電泵時,必須切斷電源,電泵在運行時人不得接觸水源,以防漏電發生人身事故。
(10)嚴禁電機缺相運轉,如發現保險絲熔斷,應檢查原因后方可繼續使用,不得任意加粗保險絲。
(11)泵運轉時,應有專人管理,如發現有不正,F象應立即停機檢查,排除故障。(指末配全自動保護柜的情況)。
(12)電泵在規定的工作介質條件下正常運行半年后,應檢查油室密封狀況,如油室中的油呈乳狀或有水沉淀,應及時更換10~20號機械油和機械密封。對于在惡劣工作條件下使用的電泵,更應經常檢修。
(13)用戶應根據實際使用的工況選擇合適的流量揚程,以達到最佳使用效果,泵銘牌或說明書上所示參數為該最佳使用工況點,用戶可選在(0.7~1.2)倍最佳流量內使用,禁止超流量使用,否則流量過大,揚程過低容易使電機過載。 |
十二、JYWQ型潛水自動攪勻排污泵故障原因及解決辦法: |
故障現象 |
原因分析 |
排除方法 |
不能啟動與運轉 |
電壓太低 |
調節電壓或電壓正常時工作 |
葉輪被雜物卡住 |
清除雜物 |
螺帽或平鍵損壞致使葉輪打滑 |
更換損壞零件 |
超負荷 |
轉子部件卡滯或過流部件被異物卡住 |
重新裝配、清除異物 |
軸承損壞、軸變形 |
更換軸承、校正軸 |
流量不足 |
吸入口或輸出管被阻 |
清除雜物,保證暢通 |
電機轉速低于額定轉速 |
提高轉速 |
葉輪打壞 |
更換葉輪 |
揚程過高 |
降低揚程 |
旋向相反 |
改換轉向 |
介質太稠或供應量不暢通 |
沖稀介質,增大供應量 |
噪聲與振動 |
葉輪與泵體有磨擦 |
檢查泵的裝配并進行調整 |
軸承損壞或少油 |
更換軸承或加油 |
螺帽松動 |
更換螺帽 |
泵體中有雜物 |
清除雜物 |
吸入口有空氣滲入 |
控制最低水位 |
|
其他排污泵系列產品推薦: |
|
您可能感興趣的潛水攪拌器系列產品: |
|